最近在Facebook被瘋狂轉載了這段影片,因為有點混淆視聽的感覺,所以我們今天就來談談鈣質的吸收
這件事情其實牽涉到以下兩種癥結:
- 鈣質的種類與吸收的關係
- 鈣質的劑型與吸收的關係
所以我們要先來了解一下鈣質。
目前常見市面販售的鈣質,以碳酸鈣和檸檬酸鈣為主要類型,另外還有乳酸鈣、葡萄糖酸鈣、磷酸鈣以及碳酸鈣或是其他種鈣與胺基酸螯合的鈣質。
每一種鈣含有的鈣當量如下表:
Elemental calcium content of different calcium salts
|
Calcium salt |
Elemental calcium content |
|
|
mg Ca2+ per gram |
mEq Ca2+ per gram |
|
|
Calcium acetate |
250 |
12.7 |
|
Calcium carbonate |
400 |
20 |
|
Calcium chloride |
270 |
13.5 |
|
Calcium citrate |
211 |
10.6 |
|
Calcium glubionate |
64 |
3.2 |
|
Calcium gluconate |
90 |
4.5 |
|
Calcium lactate |
130 |
6.5 |
|
Calcium phosphate, tribasic |
390 |
19.3 |
Data from: Lexicomp database, Accessed 1/4/2010.
或是NEJM 2013; 369:1537-1543
通常這時候就會有人說:檸檬酸鈣或是什麼特殊鈣的吸收比碳酸鈣好
其實在科學上,「好」是一個很模糊的形容詞,只能定性,不能定量,而且還要先對這個好做定義,妳所謂的「好」,是指「吸收快」?還是「吸收多」?還是都有呢?
我們從Journal Of The American College Of Nutrition裡面的Calcium Absorbability and Supplement Costs這篇取得一些數據給大家參考:
另外參考一篇:Bioavailability and Solubility of Different Calcium-Salts as a Basis for Calcium Enrichment of Beverages
calcium carbonate (CC),calcium gluconate (CG),calcium lactate malate (CLM),calcium lactate citrate (CLC)
所以其實只要時間足夠,對於不同鹽基的鈣來說,吸收都是差不多的。
(ref:Comparison of Calcium Absorption In Healthy Human Adults:From Various Calcium-Containing Products A Bioavailability Study)
NEJM很古早的比較數據(N Engl J Med 1987; 317:532-536August 27, 1987DOI: 10.1056/NEJM198708273170903)
有些文章會提到每次服用鈣質在500mg是最好的,是源自於這兩篇期刊:
不過他的實驗提到的,是在500mg為吸收高峰,但並不代表超過就無法吸收,只是會漸漸減少。主要因素為腸道面積有限,小腸本身對鈣質的吸收也有一定的飽和度,需要等到血鈣轉變之後,才會增加對消化道鈣質的吸收能力。
身體裡面的鈣質調控非常複雜,牽涉到1,25-(OH)2D3,PTH,calcitonin,stanniocalcin,estrogens,thyroid hormone,dietary Ca2+,Ca2+-Sensing Receptor,associated proteins等因素,並不是單純一兩樣就可以判斷與決定的。
相關文獻可以參考Medline
至於影片所宣稱的離子鈣,其實就是鈣離子,簡單的說,各種類的鈣經過溶解之後,出現的都是鈣離子,跟鹽基沒有任何關係。
請參考各類型鈣的水解實驗:
萊萃美碳酸鈣溶解實驗
GNC檸檬酸鈣溶解實驗
鈣補錠 檸檬酸鈣溶解實驗
好力鈣嚼錠溶解實驗
看完影片妳可能會說:妳看,碳酸鈣五分鐘就溶解了,所以其實服用碳酸鈣就好了。
但是事實並非是這樣子,把鈣片丟進水中,看到他冒泡,這個過程,正確的說,叫做:崩散。
也就是鈣的劑型被破壞,成為粉狀,真正的溶解,是從粉狀的碳酸鈣溶解出鈣的過程才叫做溶解,那沉在燒杯下面一大沱的白色粉末,還是碳酸鈣,只不過差別是他是正在溶解的碳酸鈣。
因為鈣離子非常的微小(197pm,不是下午,是pico meter,10-12),其實是看不見的。
但是妳可以參考下面之後會介紹的人體腸道圖,人體的腸道並非是妳丟東西進去就會直接排出,我們的身體其實是有設定關卡的。
例如胃的幽門,他會在一定的時間開啟,讓食物進入十二指腸,我們稱之為胃出空或是胃排空:
胃排空是胃內容物進入十二指腸的過程。其動力乃胃的收縮運動,只有胃內壓超過十二指腸內壓并克服了幽門阻力時才發生。胃的排空速率(dv/dt)為胃內壓(ps)與十二指腸內壓(po)之差和幽門阻力(Rp)的函數。
dv/dt=(ps-po)/Rp
胃的排空一般在食物進入胃後5分鐘即開始,即有部分排入十二指腸,從胃的排出物來看,一般進入胃的是固體、液體與固體的混合物,而離開胃的基本是流質,由於消化與排空同時進行,因此,胃的排空問題,實質上是如何把液體部分排出的問題。
固體食物通過幽門阻力較大,當壓力梯度相等時,固體食物的排空速率比液體慢得多。
一般糖類食物在胃停留1小時左右;蛋白質類停留2~3小時;脂肪類食物停留5~6小時以上。混合食物則約4~5小時。
影響胃排空的因素基于十二指腸與胃兩邊的壓力梯度,在近幽門區有一高壓帶長1~3cm,當靜息時其內壓比胃竇內壓和十二指腸內壓都高5毫米汞柱或更多。
靜息時,十二指腸內容物不能倒流入胃而胃內容物亦不會通過此高壓帶。當蠕動波向胃竇接近時,高壓帶鬆弛,壓力暫時下降,液體和部分食糜從胃入十二指腸。
食物的質與量影響胃的排空,溶液或小顆粒懸浮液較固體物排空快,不能消化的固體物在消化期間不能排入十二指腸。酸性食糜延緩胃排空。脂肪酸延緩胃排空,其脂肪酸鏈長度與抑制程度有關,10~14碳長鏈脂肪的抑制作用最大。每單位食物所含熱量亦與胃排空有關,熱量高者排空慢,而具相等熱量的脂肪,蛋白質和糖的胃排空率相似。
所以廠商如果宣稱他的鈣質經過加水會快速溶解為離子態,然後讓快速到達小腸,這件事情是真的。
只不過如果牽涉到滲透壓,我想你可能需要了解一下什麼是滲透壓:
依據小時候理化的解釋:溶劑由較稀薄溶液(或純溶劑)通過半透膜進入較濃溶液的現象稱為滲透作用,而抵制或停止溶劑由半透膜進入溶液,所需加於該溶液的外界壓力稱為滲透壓。
幸好科學家們讓我們現在有一些公式可以依循:
所以簡單的說:
滲透壓會因為溶質的數量(今天的主題就是鈣質補充劑)和溶劑的總量(就是身體裡面的水以及喝下去的水)而有所改變。
基本上,當你把鈣粉加水沖泡,這件事情就會開始影響等滲透壓。
人體的滲透壓是280-320mosm左右,如果你很乖的依據罐子上面的指示,加入正確劑量的水,那杯含鈣水溶液確實有可能是等滲的,只不過考驗現在才開始:
人體的消化道,十二指腸大約60公分,小腸大約是6-7公尺,大腸則為1.5公尺,每個人長度略有不同,基本上大多是身高的4倍到5倍。
這樣漫長的腸道,加上食道和胃,每個部位都會充滿了液體:
根據上圖,加上滲透壓公式,妳覺得有可能一杯水溶液進去,假設沒有口水,光是在胃部就有可能滲透壓改變了,更何況是腸子的地方?
不過其實並非如此,人體是有一個緩衝平衡機制的,就像血液一樣,整個腸道雖然都會有滲透壓的變化,但是依舊是藉由腸道及體內的水份,讓滲透壓維持在250-350之間,所以實際的狀況是,幾乎你喝下的東西,最後經過身體的調節,都會在腸道中變成等滲透壓的狀態。
如果是低滲透壓的物質,身體就會將水份抽走,讓他形成等滲,如果是高滲透壓的物質,身體就會大量釋出水份,讓他形成等滲。
藉由這個原理,我們就有一種藥物,叫做高滲透壓瀉劑:Fleet(請參考連結:衛教圖卡~Fleet 上午加下午,衛教圖卡~Fleet enma)
因此,如果不是太大差異的滲透壓,喝下去的差別並不大,所以也不用特別去買等滲透壓的飲料來補充水份:
於是比較會有爭議的地方就在這邊:
離子鈣、等滲透的理念,的確會讓吸收的速度比較快,但是會比較好吸收嗎?或是會吸收的比較多嗎?
介紹一下小腸給大家認識:
吃過腸子的人都會知道,小腸上皮並非是一個平滑的膜,而是有很多的絨毛,和刷狀細胞
藉由這些細胞的調控,讓吃下去的物質得以吸收,而細胞膜由於結構不同,其滲透作用具選擇性,與溶質大小無關。
例如:小的鎂離子不能通過腸管壁,但較大的葡萄糖分子卻可通過。
所以鈣離子想要直接用被動吸收的方式進入體內,吸收量其實並不高。
也就是說:等不等滲透壓,其實並非是腸道吸收的重點,離子化的鈣還有維他命D才是主要關鍵。
而網路流傳以下的兩張截圖所提及的等滲透壓概念,其實多半只適用於體外實驗:
尤其是現在上面那張圖(簡體字的),更是錯誤概念,既然鈣質都不吸收了,怎麼可能形成骨刺?對人體來說,所謂的吸收就是進入血液當中,鈣質如果在腸道就沒有進入血液中,又怎能進到骨骼裡面?就算是結石,了不起也是在消化道,不會在腎臟等地方出現。
請大家看一張圖片:
人體的鈣質每餐從小腸大約吸收10mmol,然後從糞便約排出5mmol,另外從腸胃道其他地方吸收的總量約為15mmol。
(ref:Intestinal absorption of calcium and the effect of renal insufficiency)
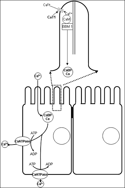
鈣質是藉由小腸刷狀細胞上面的特殊通道(CaT1/ECaC2/TrpV6)來進入體內,而將鈣質送進體內的載體就是Calbindin,Calbindin是一種維他命D依賴性的蛋白質,
他會將鈣質接收在他的EF hands點上,從基底膜內的TrpV5/6通道中plasma membrane Ca2+ ATPase (PMCA)進入體內。
所謂的EF hands:
鈣鎂在體內的離子通道示意圖:
當小腸內的鈣離子減少時,會由12指腸主動運輸將鈣質抽入體內,而當鈣離子量過多時,就會經由空腸或是迴腸的旁運輸將鈣質排出,而這些鈣質的多少多半都決定在vitamin D的濃度。
而鈣的吸收在維他命D的濃度86.5nmol/L比小於50nmol/L時多出65%。
(ref:Calcium Supplementation in Clinical Practice: A Review of Forms, Doses, and Indications )
而整體來說,鈣質的吸收率從17-58%都有,平均約為35%,取決於四個主要因素:
維他命D,BMI(body mass index)、飲食中的脂肪還有副甲狀腺:
另外你可能也會問到:碳酸鈣就是最好的鈣嗎?
也不盡然,但是問題不釋出在鈣身上,是在碳酸身上,儘管碳酸鈣提供最快速簡便且大量的鈣來源,但是他也提供了一個容易產生沈澱的鹽基:碳酸。
偏偏這個碳酸,就是很容易跟很多的離子發生沈澱,所以如果吃鈣片容易便秘的人,多半都是吃到了碳酸鈣或是本身胃酸不足(hypochlorhydria)或是其他症狀所造成,這時候就會建議患者使用其他種類的鈣質,像是檸檬酸鈣,因為檸檬酸本身就是一種不容易產生沈澱的鹽基。
另外,碳酸鈣也因為碳酸的關係,容易在酸性環境下產生二氧化碳,所以有些人服用鈣片以後,會覺得胃脹脹的、打嗝或是脹氣,這些都是因為碳酸的關係,所以有些時候也會建議飯後服用,減少不適感,但是吸收就會變慢,想要吸收快,就改到飯前胃酸比較多時候,但是二氧化碳也就會快速產生,比較折衷的方法,就是隨餐食用,吃了幾口之後就吃鈣片,但是這樣感覺好像自己病的很嚴重。
當然,其他種類的鹽基也沒有這類的狀況,所以不管是飯前還是飯後服用,都是沒有關係的。一個比較例外的狀況是如果今天是要作為降血磷的功能時,就會建議隨餐服用,鈣與磷在pH值5.0以上較易結合形成非溶性化合物排出體外,若與進食間隔2小時以上則磷結合率低,反而易增加鈣吸收。其餘鈣鹽與醋酸鈣還有碳酸鈣相比皆無法更有效結合磷,檸檬酸鈣可能增加鋁吸收,不建議用於降磷。
妳可能會想問要如何便宜又快速的得到最大量的離子鈣呢?其實你可以去買一塊大理石、珊瑚礁、貝殼(成分就是碳酸鈣),然後加上大量的鹽酸,等他全部溶解以後,用氫氧化鈉將他中和為pH7的水溶液,這樣裡面就是充滿鈣離子而且也不會有二氧化碳的疑慮了。 只不過,應該不會有人這樣做,我也不建議這樣........畢竟天然來源的大理石、珊瑚礁和貝殼不是很純的碳酸鈣,可能還會吃到其他的雜質甚至是污染物,這樣就失去補充鈣質的意義了。
不過經過我的研究之後,發現其實美安公司還算是中肯(我只的是官方,不是混淆視聽的某些不肖直銷商):
在他美國的官網上面,除了並沒有大肆提及他的等滲透壓有嚇死人的吸收率以外,還給大家正確觀念:部分鈣質的溶解量不足,可能是源自於賦形劑的差異。
尤其是DCP(Dicalcium Phosphate Dihydrate)這種賦形劑,會讓物質的溶解受到阻礙。
結論:
正確的說,吸收的快,跟吸收的好,或是吸收的多,這三件事情沒有絕對關係。
所以用鈣離子做燈泡實驗,其實只能證明他是離子狀態,至於對於人體是不是好吸收,吸收的比較完全,是沒有辦法從這樣的實驗去證明的。

























留言列表
線上藥物查詢